Глубинный насос для скважин Unipump ECO 2-34
- Самовывоз в Минске бесплатно, в рабочее времяПн.-Пт. 09:00-18:00 Адрес: г. Минск, ул. Автодоровская 24А. Обязательно уточняйте наличие товара на пункте самовывоза.
- По Минску бесплатно, Сегодня-завтра доставимДоставка осуществляется в удобное для вас время.
- По Беларуси бесплатно, 1-2 дняМы согласуем с Вами стоимость доставки при подтверждении заказа. Она может варьироваться в зависимости от веса и габарита товаров.
Глубинный центробежный насос для скважин диаметром от 110 мм Unipump ECO 2-34 создан для бытовых нужд – поднятия воды с глубин до 100 метров из узких скважин и колодцев для частных домовладений, полива и орошения. Может использоваться в автоматических системах водоснабжения.
Глубинный центробежный насос Unipump ECO 2-34 не имеет аналогов по своим техническим возможностям.
Его специально сконструировали для транспортировки холодной чистой воды без абразивных и волокнистых вкраплений из глубоких скважин диаметром от 110 мм и более, колодцев и искусственных емкостей, природных источников в бытовом использовании, полива и орошения садов и огородов, заполнения емкостей.
Насос может быть использован в автоматических системах водообеспечения частных строений и хозяйств.
Нельзя применять насос для перекачки жидкостей содержащих в себе агрессивные, горючие и взрывоопасные составляющие.
Преимущества Unipump ECO 2-34
-
Корпуса насоса и электродвигателя выполнены из нержавеющей стали, «плавающие» рабочие колеса – из прочного и очень износоустойчивого поликарбоната, сетка фильтра – из нержавейки, выходной патрубок и монтажные проушины – из латуни:
-
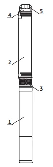
Насос собирается из насосной части (2), заполненного маслом двигательного отсека (1), сетчатого фильтра (3), выходного патрубка на 1 ¼ дюйма (4) с монтажными проушинами (5);
-
Наличие встроенного пускового конденсатора;
-
Наличие тепловой защиты двигателя, срабатывающей при температуре силовой установки +130 С;
-
Максимальное погружение насоса под зеркало воды в скважине – 40 метров;
-
Насос устанавливается не ближе 3 м к поверхности и не ближе 1.5 м ко дну источника:
-
Малый диаметр насоса до 98 мм позволяет использовать установку в скважинах малого диаметра от 110 мм и выше;
-
Наличие абразивных частиц в воде не должно превышать 100 г/куб. метр;
-
Насос имеет уникальные технические возможности по производительности и напорным характеристикам:
Комплектация Unipump ECO 2-34
В комплект поставки входит:
1. Насос в сборе с электрошнуром – 1 шт.
2. Инструкция по эксплуатации и мерам безопасности – 1 шт.
3. Транспортная упаковка – 1 шт.
Купить UNIPUMP ECO 2-34 в интернет-магазине
Вы можете купить скважинный насос Unipump ECO 2-34 на нашем складе, предварительно уточнив наличие и время вашего приезда с нашими менеджерами по телефону. Если нет возможности забрать товар самостоятельно, мы доставим насос Unipump ECO 2-34 в любую точку Беларуси по тарифам, которые вы можете посмотреть на странице «Доставка».
Полезное видео про UNIPUMP ECO 2-34
|
Модель
|
ECO 2-34 |
|
Потребляемая мощность, Вт
|
370 |
|
Напряжение в сети, В
|
220 |
|
Тип насоса
|
скважинный |
|
Качество воды
|
чистая |
|
Максимальный напор, м
|
41 |
|
Производительность, max (л/мин)
|
75 |
|
Материал корпуса насоса
|
нержавеющая сталь |
|
Максимальный пропуск частиц, мм
|
1 |
|
Максимальная глубина погружения под зеркало воды, м
|
40 |
|
Длина кабеля, м
|
10 |
|
Максимальный ток, А
|
3 |
|
Минимальный диаметр скважины, мм
|
110 |
|
Защита от сухого хода
|
нет |
|
Температура перекачиваемой жидкости, max, C
|
35 |
|
Частота, Гц
|
50 |
|
Мин. температура жидкости, °С
|
+1 |
|
Макс. температура жидкости, °С
|
+35 |
|
Класс защиты
|
IP68 |
|
Высота, мм
|
676 |
|
Вес, кг
|
10,9 |
|
Присоединительный размер, мм (дюймов)
|
32 (1¼") |
|
Диаметр насоса, мм (дюймов)
|
100 (4") |
|
Страна производства
|
Китай |
|
Производитель
|
ООО «САБЛАЙН СЕРВИС», 143981, Московская область, г. Железнодорожный, ул. Центральная, 110, Россия |
|
Срок гарантии (мес)
|
24 |
0 руб.
294.40 руб.
2 мес.
58.88 руб.
264.96 руб.
2 мес.
117.76 руб.
235.52 руб.
2 мес.
176.64 руб.
206.08 руб.
2 мес.
235.52 руб.
176.64 руб.
2 мес.
294.40 руб.
147.20 руб.
2 мес.
353.27 руб.
117.76 руб.
2 мес.
412.15 руб.
88.32 руб.
2 мес.
471.03 руб.
58.88 руб.
2 мес.
0 руб.
196.26 руб.
3 мес.
58.88 руб.
176.64 руб.
3 мес.
117.76 руб.
157.01 руб.
3 мес.
176.64 руб.
137.38 руб.
3 мес.
235.52 руб.
117.76 руб.
3 мес.
294.40 руб.
98.13 руб.
3 мес.
353.27 руб.
78.51 руб.
3 мес.
412.15 руб.
58.88 руб.
3 мес.
471.03 руб.
39.25 руб.
3 мес.
0 руб.
147.20 руб.
4 мес.
58.88 руб.
132.48 руб.
4 мес.
117.76 руб.
117.76 руб.
4 мес.
176.64 руб.
103.04 руб.
4 мес.
235.52 руб.
88.32 руб.
4 мес.
294.40 руб.
73.60 руб.
4 мес.
353.27 руб.
58.88 руб.
4 мес.
412.15 руб.
44.16 руб.
4 мес.
471.03 руб.
29.44 руб.
4 мес.
0 руб.
117.76 руб.
5 мес.
58.88 руб.
105.98 руб.
5 мес.
117.76 руб.
94.21 руб.
5 мес.
176.64 руб.
82.43 руб.
5 мес.
235.52 руб.
70.65 руб.
5 мес.
294.40 руб.
58.88 руб.
5 мес.
353.27 руб.
47.10 руб.
5 мес.
412.15 руб.
35.33 руб.
5 мес.
471.03 руб.
23.55 руб.
5 мес.
0 руб.
98.13 руб.
6 мес.
58.88 руб.
88.32 руб.
6 мес.
117.76 руб.
78.51 руб.
6 мес.
176.64 руб.
68.69 руб.
6 мес.
235.52 руб.
58.88 руб.
6 мес.
294.40 руб.
49.07 руб.
6 мес.
353.27 руб.
39.25 руб.
6 мес.
412.15 руб.
29.44 руб.
6 мес.
471.03 руб.
19.63 руб.
6 мес.
0 руб.
73.60 руб.
8 мес.
58.88 руб.
66.24 руб.
8 мес.
117.76 руб.
58.88 руб.
8 мес.
176.64 руб.
51.52 руб.
8 мес.
235.52 руб.
44.16 руб.
8 мес.
294.40 руб.
36.80 руб.
8 мес.
353.27 руб.
29.44 руб.
8 мес.
412.15 руб.
22.08 руб.
8 мес.
471.03 руб.
14.72 руб.
8 мес.
0 руб.
58.88 руб.
10 мес.
58.88 руб.
52.99 руб.
10 мес.
117.76 руб.
47.10 руб.
10 мес.
176.64 руб.
41.22 руб.
10 мес.
235.52 руб.
35.33 руб.
10 мес.
294.40 руб.
29.44 руб.
10 мес.
353.27 руб.
23.55 руб.
10 мес.
412.15 руб.
17.66 руб.
10 мес.
471.03 руб.
11.78 руб.
10 мес.
0 руб.
53.53 руб.
11 мес.
58.88 руб.
48.17 руб.
11 мес.
117.76 руб.
42.82 руб.
11 мес.
176.64 руб.
37.47 руб.
11 мес.
235.52 руб.
32.12 руб.
11 мес.
294.40 руб.
26.76 руб.
11 мес.
353.27 руб.
21.41 руб.
11 мес.
412.15 руб.
16.06 руб.
11 мес.
471.03 руб.
10.71 руб.
11 мес.
0 руб.
49.07 руб.
12 мес.
58.88 руб.
44.16 руб.
12 мес.
117.76 руб.
39.25 руб.
12 мес.
176.64 руб.
34.35 руб.
12 мес.
235.52 руб.
29.44 руб.
12 мес.
294.40 руб.
24.53 руб.
12 мес.
353.27 руб.
19.63 руб.
12 мес.
412.15 руб.
14.72 руб.
12 мес.
471.03 руб.
9.81 руб.
12 мес.
Подробнее о способах оплаты в нашем интернет-магазине в разделе "Способы оплаты"
Мы находимся в центре Минска, и будем рады Вас видеть!
Подробнее читайте в разделе "Склад насосов в Минске".
Доставка в любой из городов осуществляется в течение 1-3 дней, в зависимости от загруженности машин и Ваших предпочтений.
Подробнее со списком городов и о доставке по Беларуси Вы можете ознакомиться в специальном разделе сайта "Доставка по Беларуси"
А также, круглосуточно, Вы можете задавать свои вопросы в форме ниже, либо в разделе "Контакты".
|
Наши специалисты ответят на любой интересующий вопрос по товару или работе магазина
|
Задать вопрос
|


